De webshop is alleen beschikbaar voor professionele klanten met een account.
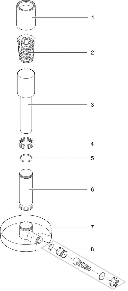
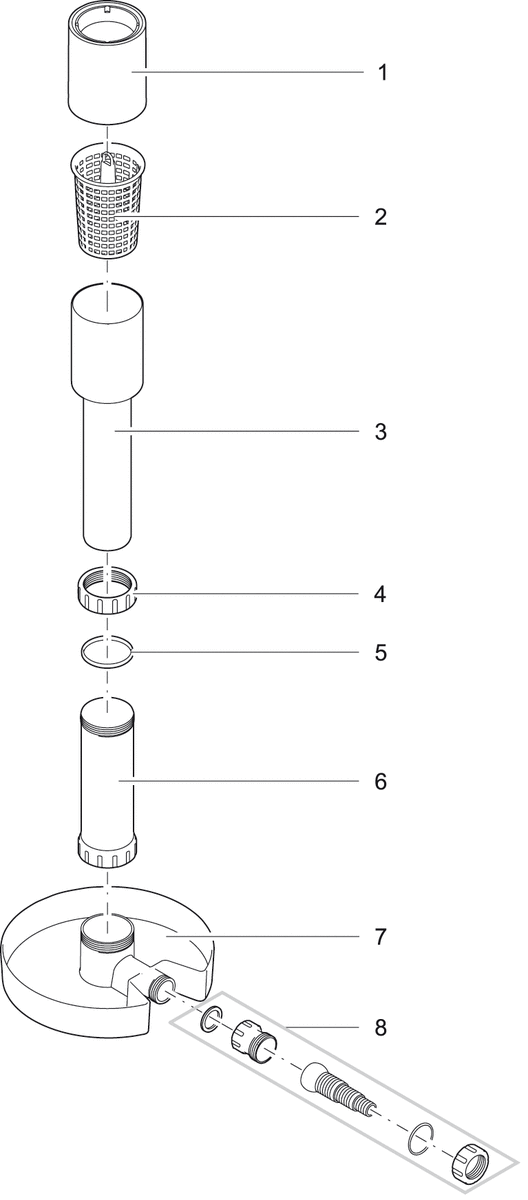
Log in om prijzen te bekijken en te bestellenOnderdelen
De getoonde verpakking van een artikel kan afwijken van de verpakking waarin het product geleverd wordt.
76
resultaten